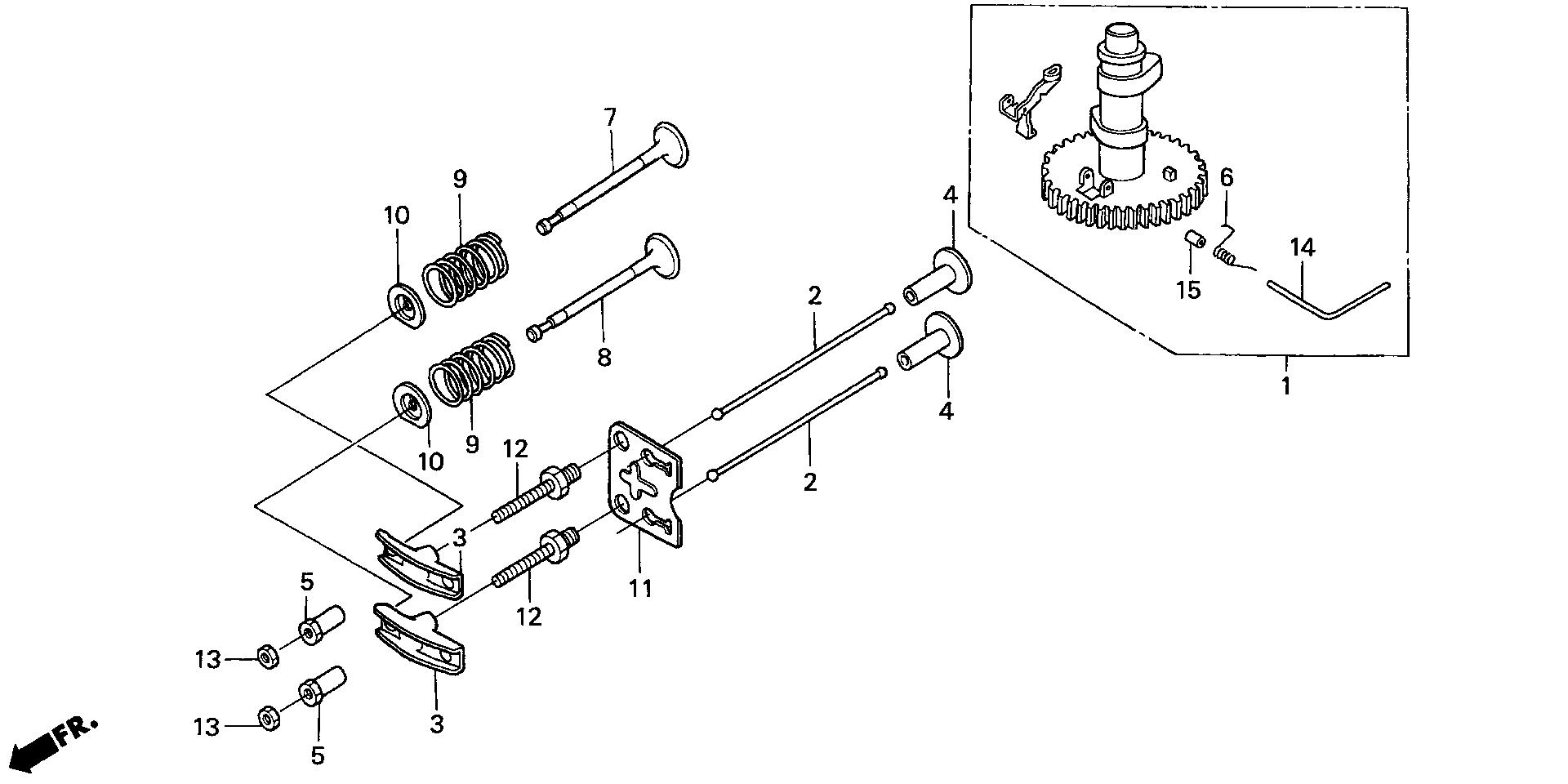
Lawn Mowers HRM HRM215 HRM215K4 PDA MZBB-6500001-9999999 CAMSHAFT - American Rent All Sales & Svc

Ref No
Part Number
Description
Serial Range
Qty
Price

Ref No
1
Part Number
14100-ZG9-800
Description
CAMSHAFT ASSY. (NOT AVAILABLE)
Serial Range
1000001 - 9999999

Ref No
2
Part Number
14410-ZE0-010
Description
ROD, PUSH
Serial Range
1000001 - 9999999
Qty
Price
$8.74

Ref No
3
Part Number
14431-ZE1-000
Description
ARM, VALVE ROCKER
Serial Range
1000001 - 9999999
Qty
Price
$7.36

Ref No
4
Part Number
14441-ZE1-010
Description
LIFTER, VALVE
Serial Range
1000001 - 9999999
Qty
Price
$14.06

Ref No
5
Part Number
14451-Z4M-000
Description
PIVOT, ROCKER ARM
Serial Range
1000001 - 9999999
Qty
Price
$6.16

Ref No
6
Part Number
14568-ZG9-800
Description
SPRING, WEIGHT RETURN
Serial Range
1000001 - 9999999
Qty
Price
$1.80

Ref No
7
Part Number
14711-ZG9-810
Description
VALVE, IN. (NOT AVAILABLE)
Serial Range
1000001 - 9999999
Qty
Price
$19.52

Ref No
8
Part Number
14721-ZG9-810
Description
VALVE, EX. (NOT AVAILABLE)
Serial Range
1000001 - 9999999

Ref No
9
Part Number
14751-ZF1-000
Description
SPRING, VALVE
Serial Range
1000001 - 9999999
Qty
Price
$4.44

Ref No
10
Part Number
14771-Z0T-900
Description
RETAINER, VALVE SPRING
Serial Range
1000001 - 9999999
Qty
Price
$1.20

Ref No
11
Part Number
14791-ZE0-010
Description
PLATE, PUSH ROD GUIDE
Serial Range
1000001 - 9999999
Qty
Price
$4.08

Ref No
12
Part Number
90012-ZE0-010
Description
BOLT, PIVOT (8MM)
Serial Range
1000001 - 9999999
Qty
Price
$8.18

Ref No
13
Part Number
90206-ZE1-000
Description
NUT, PIVOT ADJUSTING
Serial Range
1000001 - 9999999

Ref No
14
Part Number
90701-ZG9-800
Description
PIN, WEIGHT CENTER
Serial Range
1000001 - 9999999
Qty
Price
$1.56

Ref No
15
Part Number
91502-ZG9-800
Description
COLLAR, WEIGHT CENTER
Serial Range
1000001 - 9999999
Qty
Price
$1.80

Ref No
16
Part Number
12209-ZE6-003
Description
SEAL, VALVE STEM
Serial Range
7663556 - 9999999
Qty
Price
$4.34